View Schematic diagram coffee maker Images Library Photos and Pictures. Wiring Diagram Coffee Maker Coffee Machine Diagram Schematic And Image 03 Diagram Basic Coffee Machine Wiring Diagram Full Version Hd Quality Wiring Diagram Sitexnida Donnepdcampania It Coffee Maker And Method Of Operating Coffee Maker Diagram Schematic And Image 05
Schematic diagram coffee maker. Diagram Basic Coffee Machine Wiring Diagram Full Version Hd Quality Wiring Diagram Sitexnida Donnepdcampania It Coffee Maker And Method Of Operating Coffee Maker Diagram Schematic And Image 05 Coffeemaker Control Circuitlab
Diagram Basic Coffee Machine Wiring Diagram Full Version Hd Quality Wiring Diagram Sitexnida Donnepdcampania It
Coffee Machine Wiring Diagram Electrical Engineering Stack Exchange
Diagram Basic Coffee Machine Wiring Diagram Full Version Hd Quality Wiring Diagram Sitexnida Donnepdcampania It
Schematic Of A Coffee Machine Download Scientific Diagram
Ps Cp01 24oz Bt K Cup Coffee Maker Schematics Circuit Ce North America
Espresso Machine Schematic Coffee Maker Machine Coffee Machine Coffee Equipment
9 Diagrams Schematics Ideas Coffee Illustration Technical Drawing Coffee Effects
Simple Tea Coffee Vending Machine Circuit Homemade Circuit Projects
Diagram Coffee Maker Schematic Diagram Full Version Hd Quality Schematic Diagram Diagrampastinchl Alpoggioantico It
Schematic Design Of A Simple Coffee Maker Download Scientific Diagram
Coffeemaker Control Circuitlab
Coffee Pot Wiring Diagram Buick Lt1 Wiring Diagram Wiring Diagram Schematics
Coffee Maker And Method Of Operating Coffee Maker Diagram Schematic And Image 05
Coffee Machine Diagram Schematic And Image 03
Coffee Pot Wiring Diagram Wiring Diagram Chevy Volt Gauge Vga Citroen Wirings1 Jeanjaures37 Fr
Diagram Bunn Coffee Maker Wiring Diagram Full Version Hd Quality Wiring Diagram Yerwirex1 Fimenor Fr
Ps Cp02 14oz Bt K Cup Coffee Maker Schematics No Title Ce North America
Simple Tea Coffee Vending Machine Circuit Homemade Circuit Projects
Diagram Basic Coffee Machine Wiring Diagram Full Version Hd Quality Wiring Diagram Sitexnida Donnepdcampania It
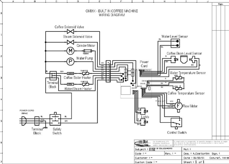
Cm01x Coffee Machine Wiring Diagram
Gaggia Achille Espresso Machine Schematic Diagram Espressomachinereviews Italiancaffeine I Cappuccino Machine Espresso Machine Reviews Best Espresso Machine
Diagram Coffee Maker Schematic Diagram Full Version Hd Quality Schematic Diagram Diagrammoakq Chicosamba It
How To Repair A Coffee Maker How To Repair Small Appliances Tips And Guidelines Howstuffworks
Automatic Coffee Vending Machine Plc Logic Plc Tutorials
Pid Espresso Coffee Machine Mod Mechinations
Coffee Maker And Method Of Operating Coffee Maker Diagram Schematic And Image 06
Fluid Level Control Schematic Diagrams
35 Coffee Vending Machine Circuit Diagram Worksheet Cloud
Diagram Coffee Machine Diagram Full Version Hd Quality Machine Diagram Pdfxalmonv Achatsenchine Fr
How A Keurig Coffee Maker Works Keurig Mechanical Schematic Manualzz
Diagram Bunn Coffee Maker Wiring Diagram Full Version Hd Quality Wiring Diagram Compoundmicroscopediagram Shia Labeouf Fr
Diagram Coffee Maker Schematic Diagram Full Version Hd Quality Schematic Diagram Diagrampastinchl Alpoggioantico It
Francisfrancis X1 Espresso Machine Diy Temperature Control Repair Decompression Stop
Diagram Wiring Diagram Coffee Maker Full Version Hd Quality Coffee Maker Diagramrobye Terapix Fr
Diagram Wiring Diagram Coffee Maker Full Version Hd Quality Coffee Maker Pdfxvidala Trkbrd It
Coffee Maker And Method Of Operating Coffee Maker Diagram Schematic And Image 02
Github Dzwarg Cafeduino A Coffee Monitoring System With An Arduino Ethernet Shield And Pachube Com
Le 6023 Bunn Coffee Wire Diagrams Download Diagram
Diagram Suzuki Cappuccino Wiring Diagram Full Version Hd Quality Wiring Diagram Boacorhoiapomeeryomc Gsdportotorres It
Diagram Wiring Diagram Coffee Maker Full Version Hd Quality Coffee Maker Pdfxvidala Trkbrd It
How To Repair A Coffee Maker How To Repair Small Appliances Tips And Guidelines Howstuffworks
The Feel Like A Queen Coffee Machine 13 Steps With Pictures Instructables
Bunn Wiring Diagram Dirt Bike Wiring Diagram Points Wiring Diagram Schematics
Full Automatic Drip Coffee Maker With Coffee Bean Grinder Diagram Schematic And Image 01
United Supplies United Supplies S Photos Coffee Machine Tea Cafe Coffee Grinder
Schematic Diagram Of Coffee Machine Page 1 Line 17qq Com
Diagram Coffee Maker Schematic Diagram Full Version Hd Quality Schematic Diagram Diagrampastinchl Alpoggioantico It
Basic Coffee Machine Wiring Diagram Deep Sea Vents Diagram Begeboy Wiring Diagram Source
Coffee Machine Wiring Diagram Electrical Engineering Stack Exchange
Schematic Diagram Of 1 54 M 2 Scheffler Reflector For Coffee Making Download Scientific Diagram
Diagram Basic Coffee Machine Wiring Diagram Full Version Hd Quality Wiring Diagram Sitexnida Donnepdcampania It
How Do Espresso Machines Work Clive Coffee
On What Makes A Good Coffee Maker Ecrl
Fully Charged Cuisinart Dcc 1200 Teardown And Power Module Schematic
Bosch Bcm8450uc Built In Coffee Machine
Diagram Coffee Maker Schematic Diagram Full Version Hd Quality Schematic Diagram Diagrammoakq Chicosamba It
Bunn Model Gr Wiring Diagram Ford Escort Zx2 Fuse Box Begeboy Wiring Diagram Source
Bloomfield Integrity Decanter Coffee Brewer 9012 Ereplacementparts Com
How An Espresso Machine Works What S Really Inside
Schematic And Troubleshooting Starbucks Barista Sin 006 Ifixit Repair Guide
And8225 D Reference Design Ac To Dc Single Output Power Supplies Arrow Com
Schematic Pdf Links And Manuals Espressocare
Playstation 3 Block Diagram 96 Bmw 328i Fuse Box Pump Yenpancane Jeanjaures37 Fr
9 Diagrams Schematics Ideas Coffee Illustration Technical Drawing Coffee Effects
Diagram Mr Coffee Wiring Diagram Full Version Hd Quality Wiring Diagram Flowerdiagraml Karma Pa It
Coffee Pot Wiring Diagram Buick Lt1 Wiring Diagram Wiring Diagram Schematics
Grafik Coffee Maker Schematic Diagram Full Quality Beltdiagrams Ahimsa Fund Fr
Project Coffee Es Pi Resso Machine Blog
Diagram Wiring Diagram Coffee Maker Full Version Hd Quality Coffee Maker Diagramrobye Terapix Fr
Diagram Ice Maker Wiring Diagrams Full Version Hd Quality Wiring Diagrams Cbschematic2b Angelux It
How Does A Capsule Coffee Maker Work The Full Guie 2020
Philips Hd7221e Coffee Maker Service Manual Download Schematics Eeprom Repair Info For Electronics Experts
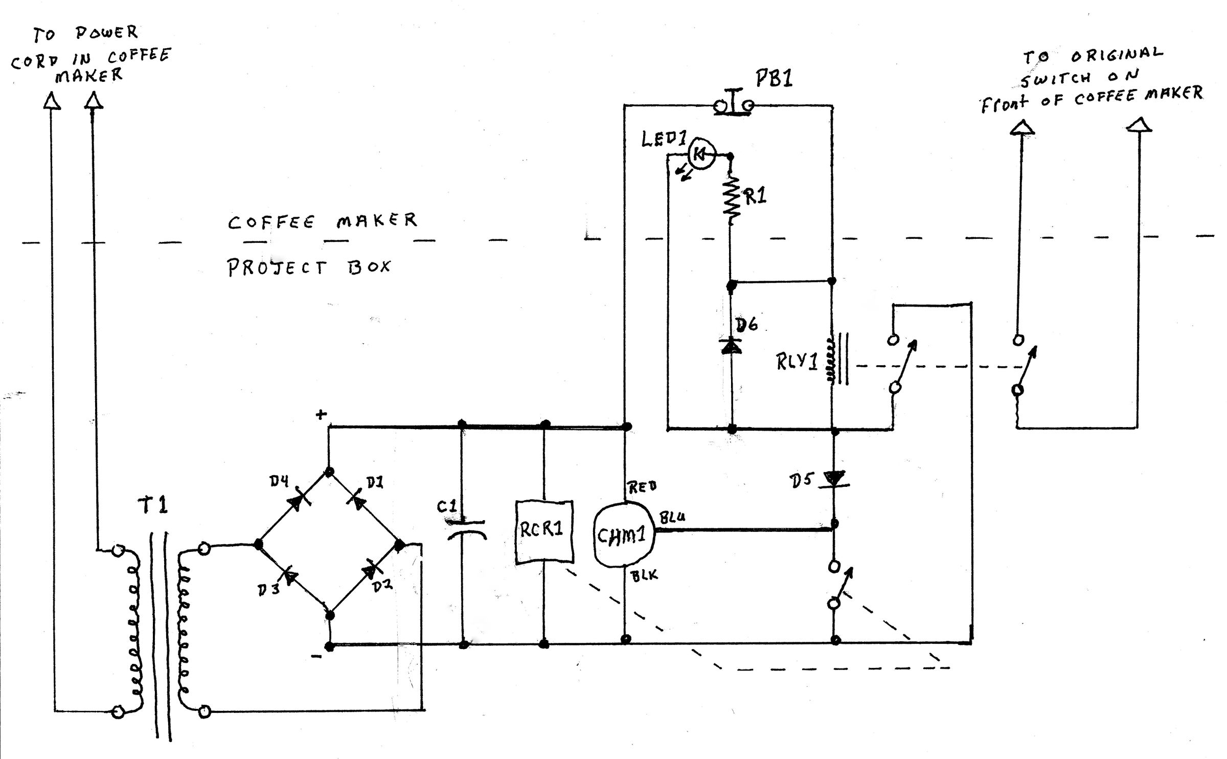
Wi Fi Iot Electrical Outlet Turning On A Coffee Maker Remotely Project Lab
Diagram Suzuki Cappuccino Wiring Diagram Full Version Hd Quality Wiring Diagram Boacorhoiapomeeryomc Gsdportotorres It
Diagram Coffee Maker Schematic Diagram Full Version Hd Quality Schematic Diagram Diagrammoakq Chicosamba It
Functional Flow Block Diagram Wikipedia
Conti Commercial Coffee Machine Spare Parts Online Coffee Parts
Schematic Wiring Diagram A10 A Schematic Wiring Diagram A10 A Auto Schematic Wiring Diagram A10 Bunn 10 Cup Pourover Coffee Brewer A10 User Manual Page 15 15 Original Mode
Bosch Bcm8450uc Built In Coffee Machine
Bunn 12 Cup 2 Warmer Commercial Coffee Brewer Home Hardware
Full Automatic Drip Coffee Maker With Coffee Bean Grinder Diagram Schematic And Image 07
Coffee Machine Water Auto Refill Upgrade Hackster Io
Diagram Bunn Bxb Wiring Diagram Full Version Hd Quality Wiring Diagram Diagramwormt Sistecom It
Electrical Commutator For A Coffee Machine Electrical Engineering Stack Exchange
Diagram Wiring Diagram Coffee Maker Full Version Hd Quality Coffee Maker Pdfxvidala Trkbrd It
Schematic Diagram Of 1 54 M 2 Scheffler Reflector For Coffee Making Download Scientific Diagram
Espresso Maker Schematic Dodge Ignition Wiring Schematic Toshiba Yenpancane Jeanjaures37 Fr
The Feel Like A Queen Coffee Machine 13 Steps With Pictures Instructables





Tidak ada komentar:
Posting Komentar